티스토리 뷰
목차
한국전력공사 대표번호는 '지역번호+123' 입니다.
대표전화가 부재 중이거나 세부적인 상담이 필요하실 때는 아래의 연락처를 확인하세요.

서울특별시 관할구역별 한전 사업소 안내
☑️ 관할구역에 해당하는 사업소의 번호를 확인하고 목차에서 바로 이동하시면 됩니다.
| 번호 | 사업소명 | 관할구역 |
| 1 | 한국전력공사 서울본부직할 | 중구, 종로구 |
| 2 | 한국전력공사 동대문중랑지사 | 동대문구, 중랑구 |
| 3 | 한국전력공사 광진성동지사 | 성동구, 광진구 |
| 4 | 한국전력공사 노원도봉지사 | 도봉구, 노원구 |
| 5 | 한국전력공사 서대문은평지사 | 은평구, 서대문구 |
| 6 | 한국전력공사 마포용산지사 | 마포구, 용산구 |
| 7 | 한국전력공사 강북성북지사 | 강북구, 성북고 |
| 8 | 한국전력공사 남서울본부직할 | 영등포구 |
| 9 | 한국전력공사 강동송파지사 | 강동구, 송파구 |
| 10 | 한국전력공사 강서양천지사 | 양천구, 강서구 |
| 11 | 한국전력공사 관악동작지사 | 동작구, 관악구 |
| 12 | 한국전력공사 서초지사 | 서초구, 경기도 과천시 |
| 13 | 한국전력공사 강남지사 | 강남구 전역 |
| 14 | 한국전력공사 구로금천지사 | 구로구, 금천구 |
서울특별시 한국전력공사 전화번호
1. 서울본부직할
- 관할구역: 중구, 종로구
- 주소 : 서울특별시 중구 남대문로 92


2. 동대문중랑지사
- 관할구역 : 동대문구, 중랑구
- 주소 : 서울특별시 중랑구 동일로 862


3. 광진성동지사
- 관할구역: 성동구, 광진구
- 주소: 서울특별시 성동구 마장로27길 13


4. 노원도봉지사
- 관할구역: 도봉구, 노원구
- 주소: 서울특별시 노원구 노해로 429


5. 서대문은평지사
- 관할구역: 은평구, 서대문구
- 주소: 서울특별시 은평구 통일로 659


6. 마포용산지사
- 관할구역: 마포구, 용산구
- 주소 : 서울 마포구 토정로37길 38


7. 강북성북지사
- 관할구역: 강북구, 성북구
- 주소: 서울특별시 강북구 도봉로 242

8. 남서울본부직할
- 관할구역 : 영등포구
- 주소 : 서울특별시 영등포구 문래북로 66


9. 강동송파지사
- 관할구역 : 강동구, 송파구
- 주소 : 서울특별시 강동구 양재대로 1318


10. 강서양천지사
- 관할구역: 양천구, 강서구
- 주소: 서울특별시 양천구 목동서로 313


11. 관악동작지사
- 관할구역: 동작구, 관악구
- 주소 : 서울특별시 동작구 동작대로 19


12. 서초지사
- 관할구역: 서초구, 경기도 과천시
- 주소: 서울특별시 서초구 효령료 72길 60


13. 강남지사
- 관할구역: 서울시 강남구 전역
- 주소 : 서울특별시 강남구 강남대로 262 (도곡동 949-3 캠코양재타워)


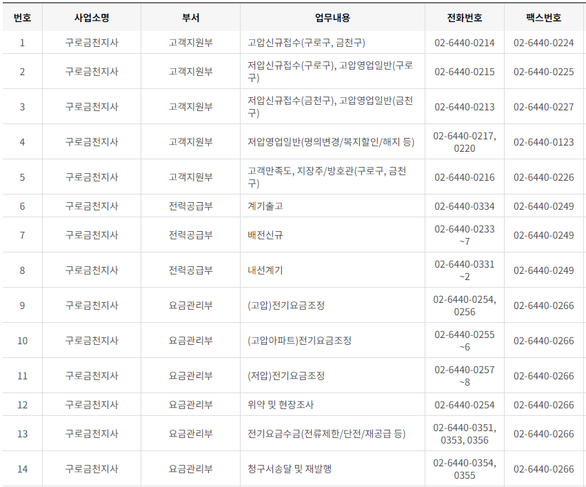
14. 구로금천지사
- 관할구역: 구로구, 금천구
- 주소 : 서울특별시 금천구 시흥대로 435 (구 메이퀸웨딩홀 2~3층)





